Sun Microsystems, Inc.   Oracle System Handbook - ISO 7.0 May 2018 Internal/Partner Edition
   Home | Current Systems | Former STK Products | EOL Systems | Components | General Info | Search | Feedback



Fibre Channel RAID Controller

Option XTA-2540-CTRL-512M

540-7294 375-3499
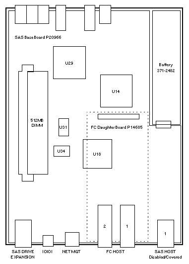
Battery 371-2482 + 375-3499 SAS Base Board
with FC Daughter Board
w/o Battery 371-2482

Notes

  1. SAS Base Board P20966 is used in FCAL, iSCSI, and SAS configurations.
  2. FC RAID Controller Tray 375-3518 includes SAS Base Board P20966, FC Daughter Board, and sheetmetal tray.
  3. The SAS Base Board does not have a separate Sun part number.
  4. The FC Daughter Board does not have a separate Sun part number.
  5. Single controller configurations with firmware 07.35.10.10 requires CAM >=6.2.
  6. Firmware 07.35.10.10 is on 375-3518-03. (Reference WO_40339 and GSAP 4547)

References

  1. Sun StorageTek 2500 Arrays Documentation.



Fibre Channel RAID Controller

Disk Arrays: StorageTek 2540

Option XTA-2540-CTRL-1GB

540-7737 375-3595 371-4592
Battery 371-2482 + 375-3595 SAS Base Board
with FC Daughter Board
w/o Battery 371-2482
1GB DIMM
XTA-2500-1GBMEM

Additional Information & Views

Notes

  1. SAS Base Board P20966 is used in FCAL, iSCSI, and SAS configurations.
  2. FC RAID Controller Tray 375-3518 includes SAS Base Board P20966, FC Daughter Board, and sheetmetal tray.
  3. The SAS Base Board does not have a separate Sun part number.
  4. The FC Daughter Board does not have a separate Sun part number.

References

  1. Sun StorageTek 2500 Arrays Documentation.

  Copyright © 2018 Oracle and/or its affiliates.  All rights reserved.
 Feedback